脑图不烧脑
首页
思维导图
流程图
白板
Markdown
模板库
热门专题
软件教程
高阶教程
流程图使用教程
思维导图使用教程
下载客户端
当前位置:
首页
>
流程图模板
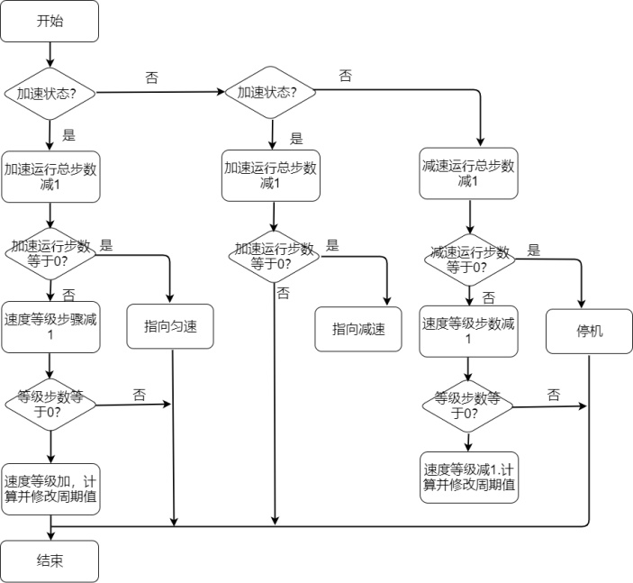
电动执行机构加减速流程图
2019-07-17 15:50:30
模板评价:
使用模板
收藏
模板简介
加减速选择又叫加减速曲线选择,通过不同的条件下产生的运动从而产生的不同步数进行总结归纳,达很好的记录效果,以下流程图是电动执行机构加减速过程比较完整希望可以帮助到大家.
热门推荐
在线流程图
流程图模板
组织结构图
业务流程图
程序流程图
数据流程图
工艺流程图
工作流程图
系统流程图
word流程图
算法流程图
拓扑图
热门模板
电动执行机构加减速流程图
环形拓扑结构示意图
互联网工作原理拓扑图
小型企业网络拓扑图
树状网络拓扑图
财务管理系统业务流程图
简易进销存管理流程图
财务期末结账管理流程图
环形财务报销审核流程图
供应商财务对账工作流程图
x
迅捷思维导图APP
多端互通可离线使用 一键导出专业脑图
免费下载APP